 
        GM розробила вихлопну трубу для електромобілів
— 09.06.2025 / 10:25Кожні кілька місяців хтось намагається встановити вихлопну систему на електромобіль. Найбільш оригінальною спробою, мабуть, можна вважати фізичний генератор звуку від Dodge, який імітує традиційний вихлоп. Проте General Motors нещодавно запатентувала щось інше — рішення, яке більше про функціональність, ніж про стиль. Йдеться про аварійну вихлопну систему, покликану запобігти рідкісному, але небезпечному явищу, відомому як «тепловий розгін» (thermal runaway).
У нормальних умовах електромобіль виділяє лише тепло, тож традиційна вихлопна система йому не потрібна. Проте надмірне тепло — це вже серйозна проблема. «Тепловий розгін» трапляється тоді, коли через дефект або пошкодження акумулятор починає генерувати більше тепла, ніж система охолодження може розсіяти. Це запускає ланцюгову реакцію, яка супроводжується виділенням легкозаймистих газів. І саме це є передумовою до того, що в індустрії електромобілів евфемістично називають «тепловою подією» — фактично займанням чи вибухом батареї.
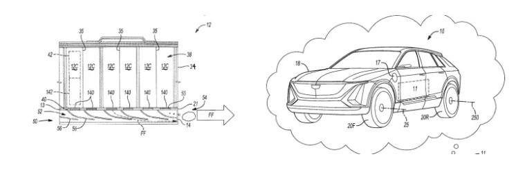
Патент GM описує систему, призначену для запобігання перетворенню теплового розгону на повноцінну «теплову подію». Називати її «вихлопною системою» — трохи перебільшення; радше це складний механізм скидання надлишкового тиску, подібний до вейстгейту у турбонаддуві.
По суті, система складається з серії клапанів і/або кришок, які фізично випускають гарячі, легкозаймисті гази, що утворюються всередині пошкоджених елементів батареї. Ці гази спрямовуються через набір відбивних перегородок, які відводять їх від сусідніх осередків до центральної вихлопної камери. Звідти гази виводяться в атмосферу — одночасно зменшуючи температуру в акумуляторному блоці та усуваючи потенційні джерела займання.

Хоча основна загроза займання в електромобілі походить ізсередини акумуляторної батареї, GM у своєму патенті не згадує про той факт, що система виводитиме легкозаймисті гази у зовнішнє середовище — яке після аварії може бути хаотичним і небезпечним. Компанія Stellantis раніше цього року подала заявку на подібний патент, але з включенням спеціального фільтра (аналог каталізатора), який очищає суміш перед викидом.
Функціонально розробка GM більше схожа на аварійний клапан скидання тиску у бойлері, ніж на традиційну вихлопну систему автомобіля з ДВЗ. Але з технічної точки зору це все ж «вихлоп». В ідеалі, така система ніколи не мала б активуватися — але в разі аварії або пошкодження акумулятора вона може стати тим, що врятує авто від повного знищення, а власника — від втрати гаража або будинку.
Схоже на цілком розумну інженерну перестраховку














