
Практична інновація Ford: модульний зарядний хаб у салоні
— 04.03.2026 / 14:00- Ford запатентував знімний зарядний хаб для пасажирів заднього ряду, заявка на патент подана в серпні 2024 року.
- Модуль пропонує USB-порти, бездротову зарядку, місце для зберігання речей і може функціонувати як павербанк.
- Концепція виглядає готовою для виробництва, хоча патенти не гарантують появу в реальних автомобілях.
Проста, але корисна технологія для автомобіля
Технології в автомобілях давно перестали обмежуватися лише тим, як машина рухається чи скільки пального вона витрачає. Виробники приділяють не менше уваги функціям, які роблять повсякденне життя зручнішим. Інформаційно-розважальні системи, розумне зберігання речей та ефективні рішення для зарядки гаджетів стали обов’язковими, особливо коли телефони та планшети постійно перебувають у салоні.
Знімний зарядний хаб від Ford
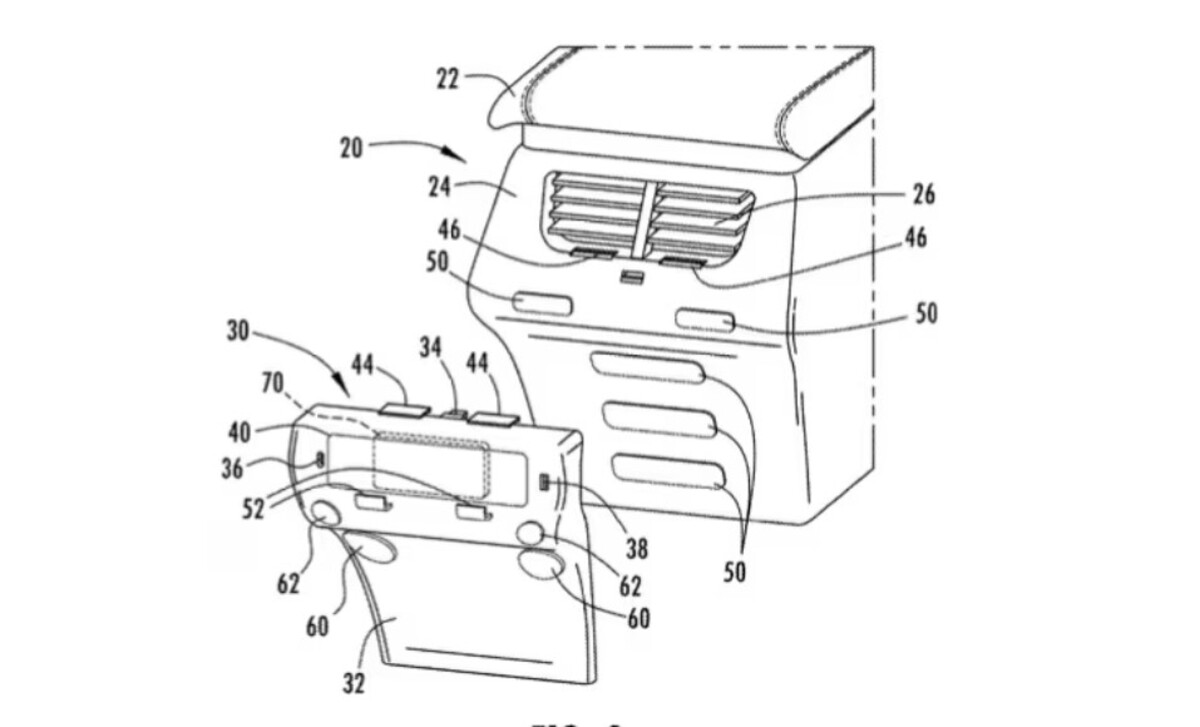
Яскравий приклад такого підходу демонструє останній патент компанії Ford. Заявка подана в серпні 2024 року (патент № 20260058424). У ній описується знімний зарядний хаб, який встановлюється за центральною консоллю автомобіля.
Нічого зайвого, все на своєму місці
Цей модуль не має надмірного дизайну чи складних елементів, і саме це робить його цікавим. Він пропонує USB-порти, бездротову зарядку, місце для зберігання речей і навіть може виконувати функції павербанка. Концепція виглядає реальною для виробництва, і якщо її реалізують у серійних автомобілях, пасажири заднього ряду отримають ще один зручний інструмент для щоденного використання.

Практичний дизайн зарядного порту для смартфонів
Нещодавній патент Ford зосереджений на модульному зарядному блоці, який кріпиться за центральною консоллю для пасажирів заднього ряду. Замість того, щоб інтегрувати порти прямо у консоль, компанія використовує знімний корпус, який фіксується простим механізмом. За потреби його можна легко зняти, замінити або оновити, не порпаючись у салоні автомобіля.
Все необхідне для сучасних гаджетів
Модуль підтримує як USB-A, так і USB-C порти, а поруч розташована бездротова зарядка та вбудований тримач для пристроїв. LED-підсвітка забезпечує комфортну видимість у темряві, а внутрішній акумулятор дозволяє заряджати гаджети навіть тоді, коли автомобіль вимкнений — фактично перетворюючи хаб на павербанк, що зручно для поїздок поза містом.
Додаткове місце для зберігання
Ford передбачив і невелику сітку під зарядним модулем, де пасажири заднього ряду можуть залишати кабелі або дрібні предмети. Це проста деталь, але вона підкреслює практичність конструкції: модуль створений не для ефекту, а щоб справді полегшити життя водія та пасажирів.

Чому ця ідея має сенс
Головна перевага цього рішення — у його продуманій упаковці. Знімний зарядний хаб дозволяє Ford пропонувати різні конфігурації для кожної комплектації або давати дилерам можливість додавати оновлення пізніше. Якщо один із портів перестане працювати, весь модуль можна замінити, не розбираючи салон. Такий підхід також полегшує модифікації після покупки автомобіля.
Гнучкість, яка відповідає сучасним потребам
Цей підхід відповідає тому, як зараз продають і оновлюють автомобілі. Покупці цінують гнучкість, особливо для функцій, які змінюються з року в рік. Згадайте, коли iPhone мав власний зарядний порт — це доводить, що стандарти зарядки постійно змінюються. Гаджети стають більшими, тож те, що зручно сьогодні, через кілька років може здаватися застарілим.
Патент ≠ гарантована реальність
Варто пам’ятати: наявність патенту не гарантує, що функція дійде до серійного виробництва або навіть буде реалізована за межами креслень. Автовиробники часто подають патенти просто для захисту ідеї. Але цей випадок виглядає досить логічним, тож є всі шанси, що такий модуль може з’явитися в салоні майбутніх автомобілів Ford.















